Mô tả
Đồng hồ đo nước hiệu T-FLOW, model TFM, class 2, R160, đa tia, vỏ đồng
DES: Đồng hồ đo nước T-FLOW TFM đa tia, vỏ đồng, bền bỉ và chính xác, phù hợp cho hộ gia đình, toà nhà và khu công nghiệp. Mua Ngay!
Đồng hồ nước T-FLOW TFM là loại đa tia, mặt số khô với cơ chế đo cánh quạt kết hợp bánh số và kim chỉ, dễ đọc, bền lâu và chống đóng băng. Đồng hồ có thể kết nối truyền dữ liệu từ xa qua NB-IoT, LoRa hoặc LoRaWAN, giúp quản lý tập trung hệ thống đo nước hiệu quả.

Cấu tạo đồng hồ đo nước T-FLOW TFM đa tia, vỏ đồng
Đồng hồ đo nước T-FLOW TFM đa tia được chế tạo từ các vật liệu chất lượng cao, đảm bảo độ bền và khả năng vận hành ổn định trong môi trường ẩm ướt:
- Thân đồng hồ: Làm từ đồng (Brass) chắc chắn, được sơn phủ chống ăn mòn và oxy hóa, giúp tăng tuổi thọ sản phẩm.
- Cánh quạt (Impeller): Sử dụng nhựa ABS chịu nhiệt, trọng lượng nhẹ, giúp đồng hồ phản ứng nhanh và đo chính xác ngay cả khi lưu lượng nước thấp.
- Hệ thống truyền động từ tính: Truyền chuyển động từ cánh quạt đến bộ đếm thông qua lực từ, giúp cách ly hoàn toàn mặt số với nước, tăng độ bền và độ ổn định.
- Mặt số (Register): Thiết kế dạng khô, được hút chân không giúp hạn chế mờ số, đọng nước, đảm bảo dễ đọc trong thời gian dài.
- Bộ lọc đầu vào: Tích hợp ngay trong thân đồng hồ, giúp ngăn cặn bẩn đi vào bên trong mà không ảnh hưởng đến niêm phong.

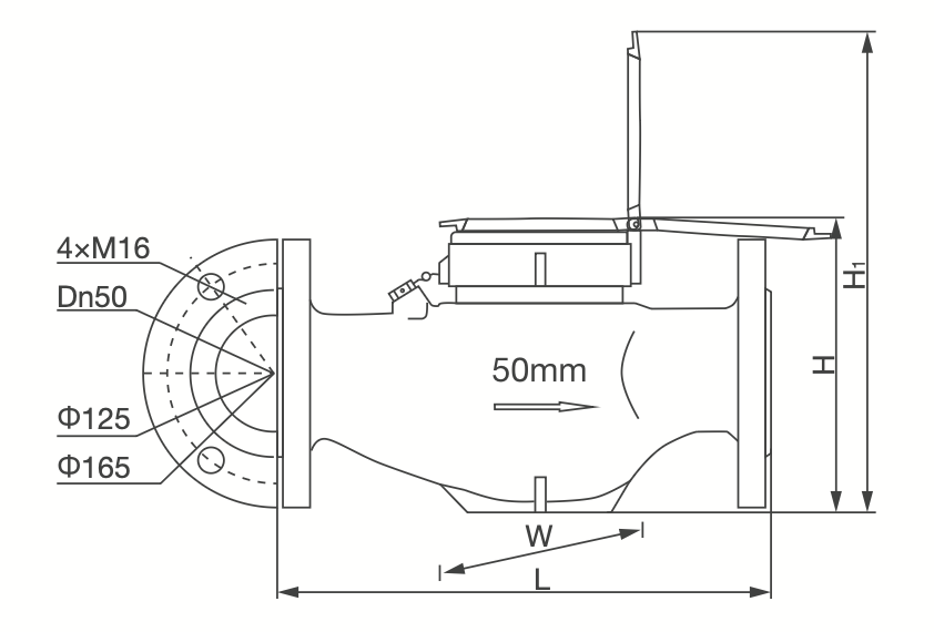
Thông số kỹ thuật đồng hồ đo nước T-FLOW TFM đa tia, vỏ đồng
Thông số kỹ thuật đồng hồ đo nước được thể hiện chi tiết qua hai bảng dưới đây, bao gồm kích thước cơ khí và thông số đo lường, giúp người dùng dễ dàng lựa chọn phù hợp với nhu cầu sử dụng.
Bảng kích thước đồng hồ đo nước T-FLOW TFM đa tia, vỏ đồng
| Kích thước (mm) | DN15 | DN20 | DN25 | DN32 | DN40 | DN50 | DN50 (mặt bích) |
| Chiều dài (L) | 165 | 190 | 260 | 260 | 300 | 300 | 300 |
| Tổng chiều dài kèm rắc co (L1) | 259 | 294 | 380 | 384 | 431 | 448 | \ |
| Đường kính kết nối (D) | G3/4B | G1B | G1-1/4B | G1-1/2B | G2B | G2-1/2B | \ |
| Kết nối ren (d) | R1/2 | R3/4 | R1 | R1-1/4 | R1-1/2 | R2 | \ |
| Chiều cao (H) | 103 | 103 | 116 | 116 | 147 | 147 | 162 |
| Chiều cao tổng (H1) | 179 | 179 | 192 | 192 | 223 | 223 | 238 |
| Chiều rộng (W) | 82 | 82 | 97 | 97 | 113 | 145 | 165 |
Bảng thông số đo lường đồng hồ đo nước T-FLOW TFM đa tia, vỏ đồng
| Thông số | Đơn vị | DN15 | DN20 | DN25 | DN32 | DN40 | DN50 |
| Tỉ số đo lường
(R = Q3/Q1) |
\ | 160 | 160 | 160 | 160 | 160 | 160 |
| Lưu lượng quá tải (Q4) | m³/h | 3.125 | 5 | 7.875 | 12.5 | 20 | 31.25 |
| Lưu lượng định danh (Q3) | m³/h | 2.5 | 4 | 6.3 | 10 | 16 | 25 |
| Lưu lượng chuyển tiếp (Q2) | l/h | 25 | 40 | 63 | 100 | 160 | 260 |
| Lưu lượng tối thiểu (Q1) | l/h | 15.625 | 25 | 39.375 | 62.5 | 100 | 156.25 |
| Chỉ số đọc lớn nhất | m³ | 99,999.9999 | 99,999.9999 | 99,999.9999 | 99,999.9999 | 999,999.9999 | 999,999.9999 |
| Chỉ số đọc nhỏ nhất | Lít | 0.05 | 0.05 | 0.05 | 0.05 | 0.05 | 0.05 |
| Tổn thất áp suất (Δp) | kPa | <63 | <63 | <63 | <63 | <63 | <63 |
| Áp suất tối đa | Bar | 16 | 16 | 16 | 16 | 16 | 16 |
| Nhiệt độ tối đa | °C | 50 | 50 | 50 | 50 | 50 | 50 |
Tính năng nổi bật của đồng hồ đo nước T-FLOW TFM đa tia, vỏ đồng

Từ các thông số kỹ thuật, đồng hồ đo nước T-FLOW TFM đa tia, vỏ đồng sở hữu nhiều tính năng nổi bật, đáp ứng tốt nhu cầu sử dụng thực tế:
- Chống ăn mòn: Toàn bộ vật liệu được lựa chọn kỹ lưỡng, giúp đồng hồ hoạt động bền bỉ trong môi trường nước và hạn chế oxy hóa theo thời gian.
- Bảo vệ từ tính: Cơ chế chống nhiễu từ hiệu quả, ngăn chặn tác động từ bên ngoài, đảm bảo kết quả đo chính xác và minh bạch.
- Hệ thống hiển thị rõ ràng: Mặt số kết hợp giữa dãy số lăn và kim chỉ, giúp người dùng dễ dàng theo dõi lưu lượng nước theo đơn vị m³ và lít.
- Tùy chọn van một chiều: Có thể tích hợp thêm van chống chảy ngược, giúp bảo vệ hệ thống và tránh thất thoát nước.
- Hỗ trợ truyền dữ liệu từ xa: Tích hợp sẵn khả năng kết nối (Pulse, NB-IoT, LoRa, LoRaWAN), giúp quản lý và giám sát từ xa thuận tiện.
- Độ chính xác cao R160: Đảm bảo đo lường ổn định ngay cả ở lưu lượng thấp, phù hợp nhiều điều kiện sử dụng.
Nguyên lý hoạt động của đồng hồ đo nước T-FLOW TFM đa tia, vỏ đồng
Đồng hồ đo nước T-FLOW TFM đa tia, vỏ đồng hoạt động dựa trên công nghệ đa tia kết hợp truyền động từ tính, giúp đo chính xác và bền lâu. Cách vận hành gồm các bước chính:
- Phân tách dòng nước: Nước vào đồng hồ được chia thành nhiều tia nhỏ, giúp đo lưu lượng chính xác.
- Cánh quạt nhận lực đều: Các tia nước tác động đồng đều lên cánh quạt, giảm ma sát và mài mòn, giữ độ chính xác lâu dài.
- Truyền động từ tính: Cánh quạt quay kéo nam châm, lực từ truyền qua màng ngăn đến bộ đếm mà không tiếp xúc nước, bảo vệ bộ đếm.
- Hiển thị chỉ số: Bánh răng chuyển vòng quay cánh quạt thành số lưu lượng, đọc trực quan qua dãy số m³ và kim chỉ lít.
Ứng dụng của đồng hồ đo nước T-FLOW TFM đa tia, vỏ đồng
Với thiết kế chính xác, bền bỉ và linh hoạt, đồng hồ T-FLOW TFM đa tia, vỏ đồng đáp ứng tốt nhu cầu đo lưu lượng nước trong nhiều môi trường khác nhau, từ các hộ gia đình đến tòa nhà cao tầng, hệ thống đô thị thông minh và các khu công nghiệp.
- Đo nước sạch tại hộ gia đình, biệt thự, nhà phố.
- Lắp đặt cho căn hộ chung cư và tòa nhà văn phòng cao tầng.
- Hệ thống quản lý nước thông minh ở các khu đô thị.
- Các nhà máy và khu công nghiệp cần kiểm soát lưu lượng nước cấp.
Cách đọc chỉ số và lắp đặt đồng hồ đo nước T-FLOW TFM đa tia vỏ đồng
Hướng dẫn cách đọc chỉ số
Mặt số đồng hồ T-FLOW TFM là loại khô, đa tia, kết hợp bánh xe số và kim chỉ. Số đen hiển thị khối lượng nước (m³) dùng để chốt hóa đơn hàng tháng. Đồng hồ DN15 – DN32 có 5 số, DN40 – DN50 có 6 số. Bạn chỉ cần ghi lại các số đen để biết lượng nước đã sử dụng.
Số đỏ và kim chỉ hiển thị đơn vị lít, biểu thị phần thập phân của mét khối (hàng trăm lít, chục lít, lít và 0.1 lít). Phần này giúp theo dõi độ nhạy của đồng hồ và phát hiện rò rỉ. Nếu tất cả thiết bị nước đã khóa mà kim đỏ hoặc số đỏ vẫn quay, có nghĩa là đường ống sau đồng hồ đang bị rò rỉ.
Hướng dẫn lắp đặt chuẩn
Trước khi lắp đặt, hãy chọn vị trí đồng hồ phù hợp và đảm bảo điều kiện vận hành tối ưu để đồng hồ T-FLOW TFM đa tia, vỏ đồng hoạt động chính xác lâu dài:
- Vị trí lắp đặt: Đồng hồ phải được lắp nằm ngang.
- Hướng mặt số: Mặt hiển thị chỉ số luôn hướng lên trên để dễ quan sát và đảm bảo cơ chế truyền động từ tính hoạt động ổn định.
- Chiều dòng chảy: Lắp đúng theo chiều mũi tên trên thân đồng hồ.
- Vệ sinh đường ống: Sục rửa sạch rác, cát, đá và các tạp chất trước khi lắp để tránh kẹt cánh quạt.
- Trạng thái vận hành: Đồng hồ phải luôn ngập đầy nước trong khoang đo để đảm bảo sai số nằm trong mức cho phép và bảo vệ linh kiện.
Địa chỉ cung cấp đồng hồ đo nước T-FLOW TFM đa tia, vỏ đồng uy tín tại T-Blue
Nếu bạn đang tìm kiếm đơn vị cung cấp đồng hồ đo nước T-FLOW Model TFM chính hãng, hãy liên hệ ngay với T-Blue, đối tác đáng tin cậy cho các giải pháp đo và quản lý nước. Tại T-Blue, bạn sẽ được:
- Cam kết chính hãng: Sản phẩm đầy đủ giấy tờ CO, CQ và giấy chứng nhận kiểm định chất lượng.
- Giá thành ưu đãi: Chính sách chiết khấu tốt cho nhà thầu, dự án và đại lý.
- Hỗ trợ kỹ thuật 24/7: Đội ngũ chuyên gia tư vấn lắp đặt, vận hành và quản lý nước thông minh.
- Bảo hành dài hạn: Hậu mãi uy tín, xử lý nhanh chóng trên toàn quốc.
Ngoài đồng hồ đo nước T-FLOW TFM đa tia, vỏ đồng, T-Blue còn cung cấp hộp bảo vệ đồng hồ nước, ống nhựa HDPE và nhiều sản phẩm khác phục vụ hệ thống cấp nước dân dụng và công nghiệp, giúp bảo vệ thiết bị, nâng cao tuổi thọ và đảm bảo vận hành ổn định.
THÔNG TIN LIÊN HỆ
- Hiệu: T-Blue
- Xuất xứ: Việt Nam
- CÔNG TY TNHH GENERAL LÊ NGUYỄN
- Chi Nhánh: Hà Nội
- Mr. Nam: 0793512999
- Emai: lenguyenco2018@gmail.com
- Chi Nhánh: Tp HCM
- Mr. Thành: 0948.939.111
- Email: lenguyenco2017@gmail.com
- Website: https://t-blue.vn/











Đánh giá
Chưa có đánh giá nào.